vsn梵曦诺这也是一个微博红人创立的品牌,点开发现它们家的产品整个设计都是很浓郁的少女风格,有着两个女人面背面logo,下面就为大家介绍一下这个品牌!
vsn梵曦诺是什么牌子
梵曦诺手工天然护肤系列产品于2009年诞生,主要是进口原料制作的手工皂以及皮肤保养品,纯天然护肤,用有机安全的原料给肌肤温和的呵护。坚持用最天然的原料,最温和安全的配方,以高级技术融合呈现出纯粹原生态的护肤品
梵曦诺的顾客到最后往往都被小馨、七七的真诚打动从而成为好朋友,她们不惜牺牲自己的形象,在网站发布各种前后对比照。因为专业与专注,梵曦诺更是得到了众多美容护肤达人的肯定,并自发的为梵曦诺做宣传推广

vsn梵曦诺好用吗
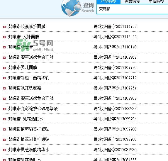
这个牌子其实是微博达人莫七七创立的,这个店铺也是一个达人店铺,查阅了一下备案,发现这个牌子是有备案的

vsn梵曦诺使用心得
这款晚安粉的盒子很漂亮,因为是晚安粉的关系所以盒子是黑色的,盒子上面还有星星和月亮~少女心十足~夜晩保养的最后一步,夜间护肤后临睡前使用,让肌肤充满透明感~涂上后薄薄一层如瓷娃娃一般,很自然很透气,有一股玫瑰的味道,香气非常淡雅,不流俗,不谄媚。
